
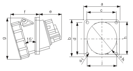
63Amp | 125Amp | |||||
Poles | 3 | 4 | 5 | 3 | 4 | 5 |
a | 100 | 100 | 100 | 120 | 120 | 120 |
b | 112 | 112 | 112 | 130 | 130 | 130 |
c | 80 | 80 | 80 | 100 | 100 | 100 |
d | 88 | 88 | 88 | 108 | 108 | 108 |
e | 64 | 64 | 64 | 92 | 92 | 92 |
f | 80 | 80 | 80 | 77 | 77 | 77 |
g | 119 | 119 | 119 | 128 | 128 | 128 |
h | 92 | 92 | 92 | 102 | 102 | 102 |
i | 7 | 7 | 7 | 8 | 8 | 8 |
j | 82 | 82 | 82 | 92 | 92 | 92 |
Wire flexible [mm²] | 6-16 | 16-50 | ||||
公 司:工业插头插座厂家
联系人:陈经理
电话:0577-27880261
手机:13336902095
E-mail:cngoogle@163.com
地 址:浙江省乐清市柳市工业区
Copyright 2026 工业插头插座厂家 版权所有 公司地址:浙江省乐清市柳市镇工业区 联系电话: 13336902095 陈经理