欢迎光临工业插头插座厂家官方网站!

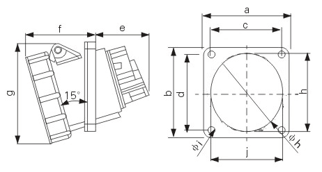
暗装斜座

  • CEE-4342/4442

CEE-4342/4442

  • 014.jpg

    电       流   Current(A): 63A/125A

    电       压   Voltage(V):  380-415~

    极       数   No. of poles: 3P+E

    防护等级  Protection degree: IP67


4332.png


63Amp

125Amp

Poles

3

4

5

3

4

5

a

100

100

100

120

120

120

b

112

112

112

130

130

130

c

80

80

80

100

100

100

d

88

88

88

108

108

108

e

64

64

64

92

92

92

f

80

80

80

77

77

77

g

119

119

119

128

128

128

h

92

92

92

102

102

102

i

7

7

7

8

8

8

j

82

82

82

92

92

92

Wire flexible [mm²]

6-16

16-50


友情链接: 浙ICP备20241089162222号 CEE工业插座箱 工业插头插座厂家