电 流 Current(A):16A/32A
电 压 Voltage(V): 220-380V~/240-415V
极 数 No. of poles: 3P+N+E
防护等级 Protection degree: IP44
16Amp
32Amp
Poles
3
4
5
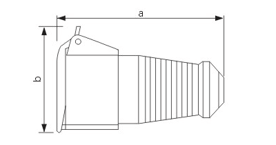
a
130
131
139
149
154
b
66
76
90
100
Wire flexible [mm²]
1-2.5
2.5-6
CEE-213-4/223-4
CEE-213/223
CEE-214/224
CEE-215/225
CEE-213L-4/223L-4
CEE-213L/223L
公 司:工业插头插座厂家
联系人:陈经理
电话:0577-27880261
手机:13336902095
E-mail:cngoogle@163.com
地 址:浙江省乐清市柳市工业区
Copyright 2026 工业插头插座厂家 版权所有 公司地址:浙江省乐清市柳市镇工业区 联系电话: 13336902095 陈经理